|
| |
 |
| |
| |
| |
| •How to cut EL SHEET |
| |
| |
| - |
It is better to use sharp knife as cutting tool and in cutting, you should do it from surface. (if you used dull knife, short can occur on section)
If you cut rear side carbon layer, because transparent electrode on bottom rear side can be broken, the part may be emitted sometimes.
|
| - |
As cutting workstation bottom, it is better to use stiff paper, ABS, or glass plate.
Please avoid soft and flexible cutting mat. |
| - |
In the case of cutting it straight by using cutting knife, because EL surface is hard and slippery, please repeatedly cut it 2~3 times. |
| - |
Please avoid internal corner part by excessive power. The part might not be emitted. |
| - |
When L-shape corner¡¯s cut part is crossed against each other and cut part is remained, please don¡¯t pull it by force. |
|
| |
 |
| - |
You can reduce loss of EL sheet by cutting it after practicing cutting paper having the same size as EL sheet (marking external electrode). |
| - |
In the case that grass or contaminated materials are on the surface, please wipe it out by using alcohol or benzene. But please don¡¯t wipe carbon surface by using organic solvent. |
| - |
If you cut it while EL sheet is energized and emitted, there is the risk of electric shock. |
|
|
|
|
| |
| •Cutting by using PLOTER |
| |
| |
| - |
Because EL sheet is made of many layered by using stiff material, as for plotter for cutting it, flat type to raise cutting pressure is the best and max. 500g cutting pressure is requested.
|
| - |
In the case of plotter having low cutting pressure for marking film, cutting is possible by using machine to cut it 2~3 times at the same method in copy mode. |
| - |
In cutting it, EL may be damaged by blocking already cut El on the cutting knife¡¯s path. Therefor, in cutting it, please spread easily stripped adhesive on pet film and attach it on EL sheet rear surface.
Please don¡¯t directly attach adhesive on EL sheet¡¯s rear side (carbon).
When adhesive is remained on carbon, the carbon layer is easily damaged by removing it in force.
Please set cutting like the below figure in order to leave silver boot part on EL external side.
In the case that EL is moved because plotter¡¯s absorption is weak, please fix tape in advance.
|
| - |
In cutting character, please set it based on cutter like figure after drawing and rotating it. |
|
| |
 |
| - |
Because knife is passed from EL sheet outsides to EL, please surely fix it by uing adhision tape. |
| - |
|
 |
|
|
|
|
| |
| •Relation between silver boot and EL shape |
| |
| |
| - |
In the case of cutting EL sheet under the condition of initial pressure 120 Vrms, 500 Hz from inverter, basically, please make external side silver boot the same length if possible.
|
| - |
The larger EL size is or the higher input pressure or frequency is, the longer boot bar is.
If boot bar length is insufficient, because current density is increased, which makes EL surface near for the electrode increased, aging phenomenon can be caused.
|
| |
|
|
| |
 |
| |
- Max. boot bar length according to EL size is proportional to emitting area. |
| |
 |
| |
- In the case that there are the same areas, there hardly is difference according to shape like the below figure. |
| |
 |
| |
| - |
When it is thin and long shape, it is ideal to put silver boot bar longitudinally, in which its condition can be different like the below figure. Although there is difference on a width, there hardly is luminance difference. |
| |
 |
| Like the above figure, the higher input frequency is, the darker luminance is. |
|
| - |
In the case of A2 sheet, because current value is larger than that of A3, when you cut external silver boot bar, please cut it on only one side. |
| |
 |
| - |
When EL surface is seriously heated, please always change EL shape, voltage, or frequency. Under the extreme condition, EL is melted, which causes short condition. |
|
|
|
|
| |
| •How to fix EL SHEET |
| |
| |
[In the case of fixing it on rear side BOARD]
|
| - |
As for board to contact with EL sheet, please surely use insulators such as plastic, etc. and also, please don¡¯t use black paper, black paint, ink, etc. having carbon as well as steel plate. |
| - |
In the case of fixing EL sheet by using double-side tape, generally, organic solvent adhesion tape influences silver boot bar or carbon layer, which causers EL¡¯s partial aging (luminance change). |
|
| |
 |
| - |
In the case of simple EL sheet shape, please attach EL sheet in order to easily change it by considering maintenance. |
| |
|
| - |
In the case that bolt hole is situated at emitting part |
 |
| |
[In the case of fixing it on the front transparent board]
|
| - |
If there is printed character or emitting pattern on the front transparent board or EL should be divided in various colors, directly attach it on the front board. |
| |
 |
| - |
In the case of insulating EL sheet¡¯s rear side, attach cutting sheet in bigger size than EL in the front. |
| - |
In every case, if you use double-side tape on emitting part, please indirectly use it over the part where cutting sheet is attached. |
| - |
In the case that strong adhesive sheet is attached on wrong position of rear side, please slowly detach it without bending EL and because EL emitting layer may be broken according to gradually stronger adhesive power, please be careful of it. |
|
| |
|
|
|
| |
| •Wide area emitting that 2 EL sheets and more are serially connected |
| |
| |
| - |
By cutting non-emitting part, please set it in order to be overlapped for each other (please don¡¯t attach them at each end) |
| - |
In the case 2 inverters are used in order to gain wanted luminance, please connect one sheet of the same specification and the same mode one by one. Please don¡¯t use two inverters for one sheet. |
| - |
In the case that one area is small and the same colored, please use one inverter. If you use the same inverters in various sizes, there is luminance change according to size difference. |
|
| |
 |
| - As for fixing overlapped part, please attach cutting sheet and use double-side tape. |
|
 |
| |
| |
In the case of using wide surface
 |
| - |
Rather than emitting the whole EL sheet front, the method to cut and use EL suitable for logo shape requests smaller EL size and low inverter capacity. |
| - |
If transparent board¡¯s silk printing color or membrane is thin, light is leaked when EL attached on the rear side is emitted. Therefore, please block penetrated light by attaching silver color or black sheet on it. |
|
| |
|
|
|
| |
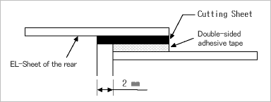
| •In the case that EL sheet is overlapped and attached |
| |
| |
| In the case that you should overlap EL according to its design like the following figure, please be careful of doing it. |
| 1. |
Please insulate electrode part. |
| 2. |
Please insulate the part where boot bar and EL sheet are overlapped. |
| 3. |
As for EL connection, please use double-side tape after attaching cutting sheet on EL-B rear side like the below figure. |
| 4. |
In the case of flickering emitting, please use external terminal as common terminal. |
|
| |
 |
| - |
Please be careful in order that lead is not fallen on EL during wiring work. |
| - |
Please don¡¯t break off EL sheet backward in order to rotate electrode part.
Although min. 6R (radius 6 mm) curved surface is usable, please be careful not to break it off backward. |
|
| |
|
|
|
| |
| •Fix lead line |
| |
| |
 |
| |
| - |
How to fix lead line in order not to force electrode |
|
|
|
|
| |
|
|
|